Багги из оки - 92 фото ★ krots.top

Багги из оки

92 фото
Ока-1111 пикап багги

Фото: Ока-1111 пикап багги


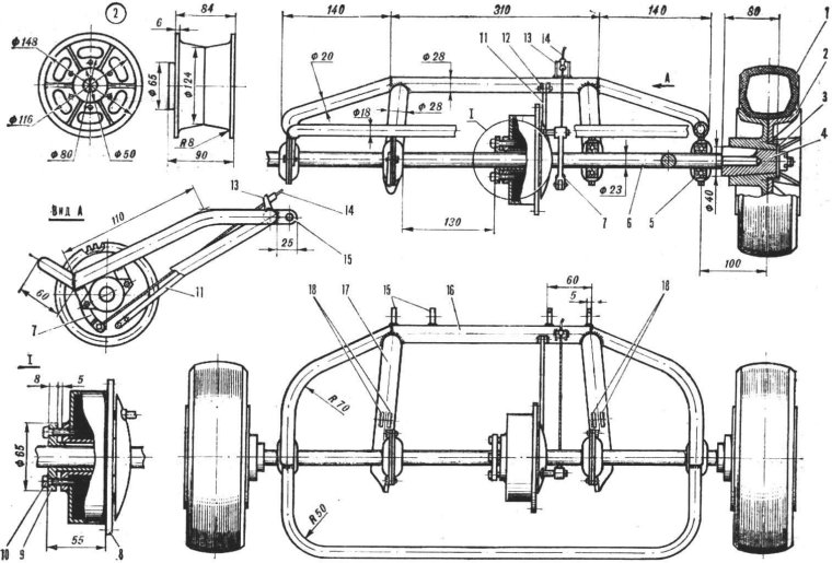
Багги БРП чертеж


Ока-1111 пикап багги


А/М багги ВАЗ 1111 Ока


Багги на базе Нивы 4х4

Фото: Багги на базе Нивы 4х4


ВАЗ Ока багги


Багги Ариэль Номад чертежи


Багги Вираж 4х4 из Нивы


Багги из ВАЗ 1111 Ока


Багги из ВАЗ 21099


Ока-1111 пикап багги

Фото: Ока-1111 пикап багги


Багги с двигателем Урал


Заднемоторный полноприводный багги


ВАЗ 1111 багги


Чертеж багги Барракуда ВАЗ 2109


ВАЗ Ока багги


Багги Барракуда с двигателем ВАЗ 2108 чертежи


Багги Альфа Ромео


Багги Полярис 800 чертеж


Багги 2110


Багги r481 v2.0


Квадроциклы переделывают в багги


Багги ПАБГ мобайл


Багги из ВАЗ 2121


А/М багги ВАЗ 1111 Ока

Фото: А/М багги ВАЗ 1111 Ока


Багги ПАБГ мобайл


Багги с задним мостом от ВАЗ 2101


М-412 багги


Багги 4х4 из ВАЗ 2109


ПУБГ багги 3д модель


Распечатка багги


Чертежи багги Барракуда 2х местная


ВАЗ 1111 полный привод


Багги Ариэль Номад


Эскиз баги

Фото: Эскиз баги


Багги передняя подвеска из ВАЗ


Квадроцикл РМ 500 габариты чертеж


Багги с мотором ВАЗ 2109


А/М багги ВАЗ 1111 Ока


Багги с двигателем ВАЗ 2103


Багги из Днепра своими руками


Багги из 2110


Багги st4 чертежи


C5 Corvette Dune Buggy


Задняя подвеска багги из ВАЗ 2108

Фото: Задняя подвеска багги из ВАЗ 2108


Багги токи 4х4


Самодельные багги 4 местные


Багги ВАЗ 2108


Картинг багги чертежи


FUNCRUISER Lite 1600


Чертежи багги Барракуда рычаги подвески


Багги из ЗАЗ 968 чертежи


Багги из кузова ВАЗ 11113 Ока


Рама багги д3 мини


SSS (багги Mustang) багги

Фото: SSS (багги Mustang) багги


UTV из Оки


Багги 4х4 двигатель Ока


Задняя подвеска багги Поларис


Багги 2110


Gaz багги


Багги из ВАЗ 1111 Ока


Багги из ВАЗ 2110


Багги комбат Крю рама


Чертежи рамы багги Барракуда


Багги Нива чертежи

Фото: Багги Нива чертежи


Багги 2109 Вираж


Багги с двигателем Subaru


Чертежи багги "Вираж 4х2"


Багги ВАЗ 2108


Багги джип Капрал мини


Багги Gokart 200 чертеж


Багги из мотоколяски СЗД чертежи


Квадроцикл из ВАЗ 2121 Нива


ВАЗ 2107 багги


ВАЗ 1111 Геленджик багги


Багги 2101


Багги полный привод ВАЗ 2108 рама


Багги из ЗАЗ 968м


Багги из мотоцикла Урал


Багги с бортовыми т40


Багги Вираж 4х4


Багги с мотором ЗМЗ 406


Багги из ВАЗ 2110


Багги Альфа


3д модель багги из PUBG 360град


Багги ВАЗ 2101


Багги б 2901


Квадроцикл CF Moto 500 чертеж


Багги джип Капрал мини


Багги 700 КБ вес 4 места


Багги с двигателем Урал




Оставить комментарий